35kV NLL bult spännklämma av aluminiumlegering
Beskrivning:
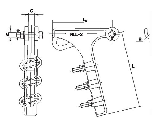
NLL 35KV bulttöjningsklämma av aluminiumlegering är lämplig för distributionstråd upp till eller över 35KV, fixering av antennisoleringsaluminiumledaren eller den nakna aluminiumledaren på rotationsvinkeln eller isolatorn på anslutningsspänningspolen, och sedan fixering och åtdragning av antennledaren;isoleringsskyddet och töjningsklämman används tillsammans för isoleringsskydd.
Funktioner:
1. Icke-magnetisk specialkropp av aluminiumlegering, efter värmebehandling, har fördelarna med hög hållfasthet och låg linjeförlust
2. Varje U-bult är fastsatt i ett separat tryckblock för att säkerställa enhetligt kontakttryck.
3. Tryckblocket fixeras på den U-formade bulten genom att göra saker, undvika att falla av under installationen och mer bekväm konstruktion.
4. Bra spänningskontroll: Klämkrökning R≥8 gånger tråddiameter D
Anmärkningar:
1.N – Töjningsklämma, L-bulttyp, L – aluminiumlegering, nummer – Produktens serienummer
2. Kroppen och brikettering är gjorda av aluminiumlegering med energibesparande effekt.Den slutna tappen är gjord av rostfritt stål och resten är varmförzinkat stål
3. Trådklämmans greppstyrka är inte mindre än 95 % av trådens beräknade brottkraft
4. Den slitstarka bussningen läggs in i järnstiftshålet för att bli en slitstark spänningsklämma








